YUKİ STORM 125 SELE ALTI SAĞ GRENAJ MAVİ

(0) Yorum - 0 Puan
Stok Kodu
T09K.0130008-B
Fiyat
59,55 USD + KDV
*332,38 TL den başlayan taksitlerle!
3.196,25 TL
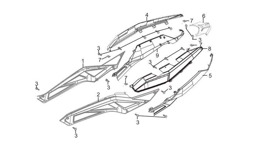
FOTOGRAFTAKİ 4 NOLU PARÇA
Bu ürüne ilk yorumu siz yapın!
Bu ürünün fiyat bilgisi, resim, ürün açıklamalarında ve diğer konularda yetersiz gördüğünüz noktaları öneri formunu kullanarak tarafımıza iletebilirsiniz.
Görüş ve önerileriniz için teşekkür ederiz.
YUKİ STORM 125 SELE ALTI SAĞ GRENAJ MAVİ T09K.0130008-B
YUKİ STORM 125 SELE ALTI SAĞ GRENAJ MAVİ
; ; ; ;

Tavsiye Et

*
*
*
IdeaSoft® | E-Ticaret paketleri ile hazırlanmıştır.